|
Y42T船用法兰青铜减压阀计算选型分析 船用法兰青铜减压阀CB/T3656-1994是船舶工业中至关重要的设备之一,它在船舶压缩空气管路系统中扮演着调节空气压力的关键角色。本文将详细介绍船用法兰青铜减压阀CB/T3656-1994的结构特点、工作原理、应用领域以及维护保养等方面的知识,旨在帮助读者更好地理解和应用这一产品。本系列减压阀属于直接作用式薄膜弹簧减压阀。主要由调节弹簧、膜片、活塞、阀座、阀瓣等零件组成。利用膜片直接传感下游压力驱动阀瓣,控制阀瓣开度完成减压稳压功能。 在城市建筑、高层建筑的冷热供水系统中,可取代常规分区水管,节省设备。也可在通常的冷热水管网中,起减压稳压作用。 本产品调压、稳压动作平稳,适用于水和非腐蚀性液体介质的管路。
一、船用法兰青铜减压阀CB/T3656-1994概述 船用法兰青铜减压阀CB/T3656-1994是按照中国船舶行业标准设计、制造和验收的专用阀门,具有结构紧凑、性能稳定、***等特点。该减压阀主要用于调节船舶压缩空气管路中的空气压力,确保船舶系统的正常运行。其设计符合中国船舶工业总公司的相关标准,并经过严格的测试和验收,确保产品质量达到行业标准。 二、Y42T船用法兰青铜减压阀计算选型分析结构特点 船用法兰青铜减压阀CB/T3656-1994的结构设计合理,主要部件包括阀体、阀盖、膜片、弹簧、调节手柄等。其中,阀体和阀盖通常采用铸钢或青铜材质制成,铸钢阀体适用于较高压力和温度条件,具有良好的强度和耐腐蚀性;青铜阀体则适用于需要较高耐蚀性的场合,同时可能也适用于中低压力应用。 膜片是减压阀的关键控制元件,通常采用锡青铜等材质制成,具有良好的弹性和耐磨性。弹簧则用于提供反向作用力,维持阀内压力平衡。调节手柄方便用户根据实际需要调节减压阀的输出压力。
三、Y42T船用法兰青铜减压阀计算选型分析工作原理 船用法兰青铜减压阀CB/T3656-1994的工作原理相对简单。当输入压力升高时,膜片受到压力作用向上移动,压缩弹簧并推动阀芯关闭减压通道,从而降低输出压力。当输入压力降低时,弹簧的反作用力推动阀芯打开减压通道,使输出压力保持稳定。通过调节手柄可以改变弹簧的预紧力,从而实现对输出压力的***调节。 Y42T船用法兰青铜减压阀计算选型分析所适用的场合
1)正作用式 由于主阀弹簧须克服进口介质对阀瓣的作用力及提供的密封力,因此,主阀弹簧的负荷较大。不适用于大口径的场合。压力特性偏差和流量特性偏差都是“负”值。所以任一工况时的静偏差都为“负”。同时,主阀弹簧的负荷较大,而它的结构空间却有限为了获得大的负荷,只有提高刚度。因此,它的静偏差较大。 由于上述原因,正作用式减压阀通常只适用于小口径(小于DN50以下)低流量的场合。 2)反作用式 进口介质使阀瓣压向阀座,***了阀的密封。主阀弹簧只需承受运动部件的重力,负荷较小。因此有较小的流量特性偏差。 流量W=0时,在进口压力降低到与出口压力相等之前,压力特性偏差是逐渐正向增加的。 W≠0时,在进口压力降到与出口压力相等之前,压力特性偏差就由增加转为下降,直至变为负偏差。 W越大,开始转为下降特性的进口压力也越高。 反作用式减压阀通常都具有“正”向的静偏差。只有当流量很大,而进口压力接近或最小值时,静偏差才为“负”。所以,当需要获得“正”向偏差时,以采用反作用式减压阀为宜。 由于需要从阀座中穿过,故不宜于小口径的场合。同时,由于调节弹簧须克服进口介质对阀瓣的作用力,当进口压力较高,而口径很大时,调节弹簧必须承受的负荷***,可能造成调节弹簧极不合理的设计。 另外,阀座密封面所承受的力也相当大。所以反作用式减压阀通常适用于进口压力(严格地说应指进、出口压力差)不太高,中等口径的场合。当进口压力较高时,口径必须较小,而进口压力较低时,口径允许较大。主要取决于是否获得尺寸合理的调节弹簧及阀座密封副能否承受进口介质的作用力。 3)卸荷式 卸荷式是静态性能较为理想的形式。由于pj不参加运动部件的力平衡,压力特性偏差极小。 流量W=0时,压力特性偏差为零。 W≠0时,压力特性偏差为“负”,静偏差恒为“负”值。 阀弹簧仅需提供密封力和克服运动部件的重力。调节弹簧无须克服介质对阀瓣的作用力。阀弹簧和调节弹簧都只承受较小的负荷,从而刚度也可设计得较小。所以,静偏差较上述两种形式小。除了由于阀杆必须从阀座中穿过而不适用小口径的情况外,其适用范围较大。
Y42T船用法兰青铜减压阀计算选型分析性能规范
减压阀流量系数(Cv)
Y42T船用法兰青铜减压阀计算选型分析主要零件材料
Y42T船用法兰青铜减压阀计算选型分析外形结构图 Y42T船用法兰青铜减压阀计算选型分析主要外形尺寸
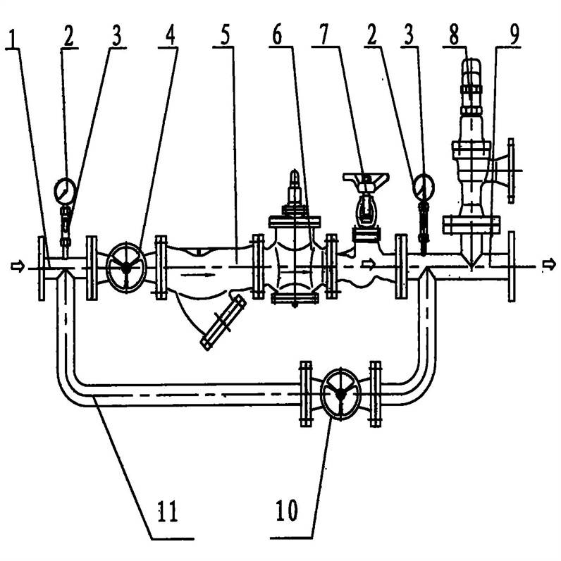
Y42T船用法兰青铜减压阀计算选型分析安装说明
①为了操作和维护方便,该减压阀一般直立安装在水平管道上,横向安装须特别说明。 减压阀就是工业生产中常见的减压装置之一。本文将为您介绍减压阀的安装方法及其重要性。
一、Y42T船用法兰青铜减压阀计算选型分析的安装方法: 1. 安装位置: 减压阀应该安装在主管道末端,以确保其可以在管道中减压。同时,它也应该在高温的管道上安装,以便及时减压并降低高温对设备的损害。 2. 安装顺序: 在安装减压阀之前,需要先安装好管道和其他附件。同时,还需要根据减压阀的使用说明书,将减压阀与管道连接好,并且严格按照说明书上的要求进行安装。 3. 安装要求: 在安装减压阀时,需要注意以下几点: (1)安装减压阀的管道应该保持干净,以确保减压阀的正常运行。 (2)减压阀的安装应该符合标准和生产的要求。 (3)在安装减压阀时,需要严格按照其连接方式和位置进行安装。 (4)安装减压阀时,需要注意其密封性和稳定性,避免出现泄漏和振动等问题。 二、Y42T船用法兰青铜减压阀计算选型分析的重要性:
1. 可以降低压力: 减压阀是工业生产中常用的减压装置之一,可以将高压气体或液体减压到合适的工作压力,确保设备的正常运行,同时也可以避免设备由于压力过高而导致的损坏。 2. 提高设备的安全性: 减压阀的安装可以有效地保护设备的安全性。在高温、高压的工作环境下,减压阀可以及时降低压力,避免设备由于压力过高而导致的事故。 3. 提高设备的稳定性: 减压阀的安装可以提高设备的稳定性。在工业生产中,设备需要稳定的工作环境,而减压阀可以有效地保持设备的稳定性,避免设备由于压力波动而导致的不稳定因素。 总之,减压阀的安装是工业生产中一个非常重要的环节。只有正确安装减压阀,才能设备的正常运行,并且提高设备的安全性和稳定性。因此,如果您需要进行减压阀的安装,一定要选择的减压阀制造商,并严格按照其安装要求进行安装,从而设备的正常运行。 |







